
Puede parecer un invento curioso, sin embargo en el mundo de la tecnología eso no implica que no pueda tener éxito, por lo que Google decidió probar con un sombrero con cámara integrada, el cual permitiría tomar fotos y grabar videos con otros usuarios. De acuerdo con la patente, la gorra también describe un micrófono integrado el cual está pensado “para crear ondas de audio a través del sombrero por conducción ósea en el cráneo”. El gigante tecnológico sostiene que los beneficios de la gorra van más allá que compartir fotos y videos con amigos en las redes sociales, pues también podría ser útil para situaciones de emergencia o asistencia en línea. Pese a lo práctico que pueda parecer, habrá que esperar a ver el producto realizado para saber si tendrá una posibilidad de triunfar, especialmente tras el fracaso que les representó anteriormente una idea parecida, los Google Glass. Con […]
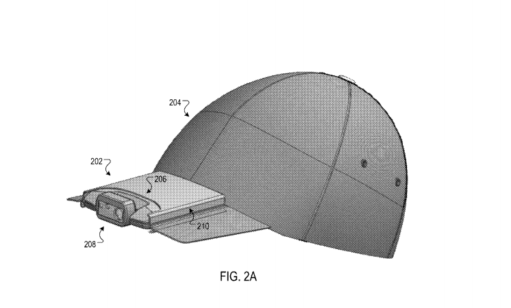
Puede parecer un invento curioso, sin embargo en el mundo de la tecnología eso no implica que no pueda tener éxito, por lo que Google decidió probar con un sombrero con cámara integrada, el cual permitiría tomar fotos y grabar videos con otros usuarios.

De acuerdo con la patente, la gorra también describe un micrófono integrado el cual está pensado “para crear ondas de audio a través del sombrero por conducción ósea en el cráneo”.
El gigante tecnológico sostiene que los beneficios de la gorra van más allá que compartir fotos y videos con amigos en las redes sociales, pues también podría ser útil para situaciones de emergencia o asistencia en línea.
Pese a lo práctico que pueda parecer, habrá que esperar a ver el producto realizado para saber si tendrá una posibilidad de triunfar, especialmente tras el fracaso que les representó anteriormente una idea parecida, los Google Glass.
Con información de Mashable