
Su apariencia parece ser de solo una bolsa de papel típica, sin carga inalámbrica oculta o conectividad Bluetooth
Apple, la marca fabricante de equipos como iPhones, MacBooks y iPads, ahora desarrollará una patente para la elaboración de bolsas de papel.
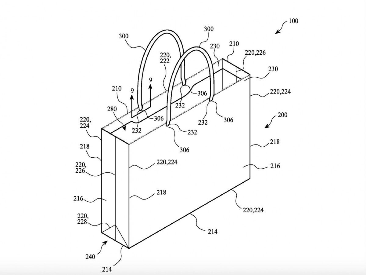
En marzo pasado, la empresa presentó una solicitud de patente para lo que parece ser sólo una bolsa de papel normal con asas. La aplicación define la bolsa en cuestión como “una bolsa de papel al por menor, que comprende: un recipiente de bolsa formada de papel blanco con material reciclable de al menos un 60 por ciento”.

Su apariencia parece ser de solo una bolsa de papel típica, sin carga inalámbrica oculta o conectividad Bluetooth. La bolsa tendrá un par de adornos, como las asas hechas de fibras de papel para que se sientan suave en la mano.
Puntos de venta de Apple cambiaron de bolsas de plástico a bolsas de papel a principios de este año, por lo que será probable que estás bolsas servirán los productos que se venden en las tiendas de Apple. Pero aún no se explica por qué la necesidad de la empresa por requerir una patente de una bolsa de papel.
Con información de Forbes